- Виды селективности защитных устройств
- Зонная селективность
- Теория
- Практический пример
- Сравнение НПВС
- Основные задачи селективной защиты
- Виды селективной защиты
- Полная и частичная
- Временная и времятоковая
- Селективность по току
- Энергетическая
- Зонная селективность
- Принцип логики
- Принцип логики
- Селективность по току
- Главные функции
- Конструкция сетей до 1000в.
- Бытовые устройства
- Понятие селективности. Методы обеспечения селективности
- Виды селективных схем подключения
- Функции и задачи селективности
- Правила составления карты селективности
- Графическое изображение селективности
- Карта селективности
- Принцип направленности
- Правила составления карты селективности
Виды селективности защитных устройств

Устройства автоматической защиты классифицируются по ПУЭ в соответствии со схемами подключения:
- При полной схеме осуществляется последовательное подключение нескольких устройств. В случае аварии быстрее всех сработает аппарат, находящийся на минимальном расстоянии от места неисправности. Это основное условие работы защитных систем.
- Частичная схема селективной защиты действует аналогично предыдущему варианту, за исключением некоторых ограничений, установленных для величины тока.
- Временные схемы отличаются избирательностью, то есть, различным временем выдержки устройств с одинаковыми параметрами. Таким образом, обеспечивается не только селективная защита, но и страховка автоматов по скорости отключения на случай их неисправности. Например, первый прибор должен сработать через 0,2 секунды. Если он оказался неисправным, то через 0,4 секунды сработает второй прибор.
- Токовая селективность имеет такой же принцип работы, как и временная, но в данном случае основным критерием служит максимальная величина токовой отметки. Значения тока выставляются в направлении от источника питания до нагрузок в порядке убывания.
- Наиболее сложной в устройстве считается времятоковая селективность. Для таких схем используется аппаратура четырех групп – А, В, С и D. Каждая из них отличается собственной реакцией на электрический ток и обеспечивает отключение в нужный момент. Защитная схема от коротких замыканий составляется с учетом индивидуальных особенностей каждой из них. При необходимости обеспечивается селективность между предохранителями и автоматическим выключателем.
- Зонные схемы чаще всего применяются на объектах промышленного производства. Данный способ селективности считается не только сложным, но и дорогим вариантом, требующим специальных приборов слежения. При этом, все полученные данные сосредотачиваются в центре контроля, который и определяет, какой автомат будет использован для отключения. То есть, он мгновенно выполняет необходимый расчет. В таких устройствах используются электронные расцепители, работающие по следующей схеме, предусмотренной ПУЭ: в случае аварийной ситуации нижестоящий аппарат, подает сигнал вышестоящему. Если через 1 секунду не произойдет срабатывания нижнего автомата, то сразу же включится второй прибор.
- Энергетическая схема предполагает быстрое действие селективности автоматических выключателей, при котором токи коротких замыканий не успевают набрать свое максимальное значение.
Зонная селективность
Теория
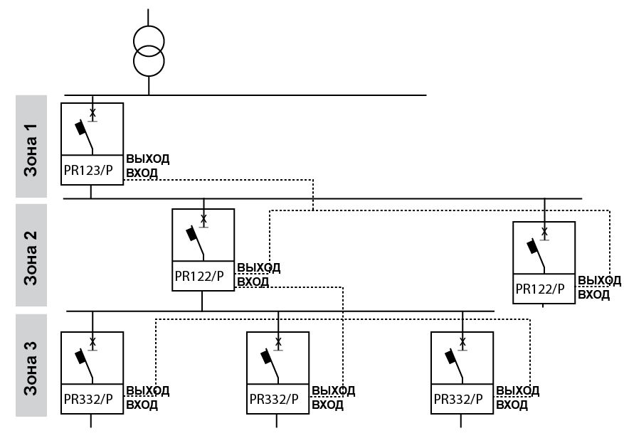
Зонный тип селективности осуществляется между двумя аппаратами, объединёнными специальным информационным кабелем. Данный тип селективности основан на взаимодействии автоматических выключателей между собой посредством этого кабеля. Автоматические выключатели одного уровня объединяются в так называемые «зоны». Если любой из выключателей данной зоны обнаруживает неисправность, он посылает сигнал блокировки вышестоящему устройству защиты. Последний в свою очередь начинает отсчёт дополнительной выдержки времени. Если за это время расположенный ниже аппарат не в состоянии произвести отключение, то коммутацию производит выключатель, расположенный выше. Если выключатель из любой зоны обнаруживает КЗ и не получает сигнала блокировки, то он будет срабатывать без дополнительной задержки по времени в соответствии со стандартными настройками.
Пример топологии зон показан на рисунке 5.

Рис. 5. Топология построения зон и подключения аппаратов для зонной селективности.
Зонная селективность может быть реализована между воздушными автоматическими выключателями и АВ в литом корпусе, оснащёнными сложными распецителями на базе микропроцессоров с технологией цифровой обработки сигналов.
Практический пример
Рассмотрим реализацию зонной селективности между двумя автоматическими выключателями АББ в литом корпусе серий Tmax T4L с электронным расцепителем PR223EF. Для обеспечения зонной селективности между двумя (или более) выключателями, оснащёнными расцепителями PR223EF, необходимо реализовать подключение через последовательное соединение (шина IL).
Исходя из технических данных, предоставляемых производителем, можно определить предельный ток селективности. Для данного примера эта величина может достигать 100 кА.
Какой бы способ координации защитных аппаратов ни обеспечивался, при проектировании электрических сетей крупных предприятий обязательно составляются так называемые карты селективности. В них указываются все уставки срабатывания всех аппаратов защиты, начиная от выключателей, установленных в подстанции, и заканчивая устройствами в распределительных щитах. Облегчить процесс подбора и координации оборудования, а также составления таких карт помогает современное программное обеспечение (ПО). Например, ПО АББ Curves позволяет составить схему, построить времятоковые характеристики автоматических выключателей, проверить координацию аппаратов, а также построить карты селективности с учётом необходимых настроек расцепителей
Последнимнужноуделять особое внимание, так как без грамотных настроек даже правильно подобранные автоматические выключатели могут в результате оказаться нескоординированными между собой
Проектирование современной селективной установки на предприятии — задача сложная и трудоёмкая, подходить к выполнению которой нужно ответственно: малейшая ошибка грозит авариями, влекущими за собой тяжёлые последствия для оборудования и персонала. Именно поэтому селективность должна обеспечиваться различными способами и на разных уровнях, тем более что современные аппараты защиты помогают реализовать различные принципы координации.
1. Под зоной короткого замыкания понимают диапазон значений тока и, следовательно, соответствующую часть кривых срабатывания автоматического выключателя, которые в 8-10 раз выше номинального тока.
Сравнение НПВС
У некоторых НПВС имеются довольно серьезные побочные эффекты, у других их нет. Это связано с особенностями механизма действия: как влияют лекарственные вещества на те или иные разновидности ЦОГ – ЦОГ 1, ЦОГ 2, ЦОГ 3.
ЦОГ 1 у здоровых людей содержится почти во всех тканях и органах (например, в почках и желудочно-кишечном тракте), где осуществляет свою важнейшую функцию. С помощью синтезированных ЦОГ простагландинов обеспечивается поддержание целостности слизистой кишечника и желудка и адекватного кровотока в ней, снижение секреции соляной кислоты, увеличение рН, секреции слизи и фосфолипидов и стимуляция клеточной пролиферации (размножения).
Препараты НПВС, угнетающие ЦОГ 1, способствуют снижению концентрации простагландинов не только в воспалительном очаге, но и во всем организме человека, вследствие чего происходит развитие негативных последствий.
В здоровых тканях ЦОГ 2, как правило, обнаруживается в незначительных количествах либо полностью отсутствует. Повышение её уровня наблюдается непосредственно при воспалениях или в самом воспалительном очаге. Препараты НПВС, избирательно ингибирующие ЦОГ 2, чаще всего принимают системно, однако их действие направлено именно на очаг воспаления, способствуя снижению в нем воспалительного процесса.
Несмотря на свое содействие развитию лихорадки и болевого синдрома, ЦОГ 3 не принимает участия в воспалительных процессах. Действие отдельных НПВС направлено на данный вид фермента, но при этом они обладают слабым влиянием на ЦОГ 1 и ЦОГ 2. По мнению некоторых специалистов, ЦОГ 3 не является самостоятельной изоформой фермента, а представляет собой вариант ЦОГ 1, однако данное утверждение на сегодняшний день не подтверждено дополнительными исследованиями.
Основные задачи селективной защиты
Что касается человека, то его восприятие окружающего мира, выбор информации, а также её запоминание носят избирательный характер.
Что же такое селективность в электрике, и для чего она нужна?
К задачам электрической селективной защиты относятся:
- гарантия безопасности оборудования и обслуживающего персонала;
- моментальное установление места повреждения и отключение только неисправного участка;
- уменьшение отрицательных результатов влияния аварии на другие узлы и части электроприборов;
- минимизация повреждений на неисправном участке;
- гарантирование максимальной беспрерывности работы электросистемы;
- достижение простоты эксплуатирования электрического оборудования.
Виды селективной защиты
Полная и частичная
Полная защита предназначена для последовательного подключения приборов. При аварии максимально быстро сработает тот защитный агрегат, который находится ближе всех к месту поломки. Частичная селективная защита во многом похожа на полную, но функционирует лишь до определенной величины тока.
Временная и времятоковая

Временная селективность – это когда у последовательно подсоединенных аппаратов при идентичных характеристиках тока установлена отличающаяся выдержка времени на срабатывание (при последовательном увеличении от проблемной зоны до источника питания). Временная защита применяется, чтобы автоматы могли подстраховать друг друга в случае сбоя. К примеру, первый должен сработать через 0,1 секунды, если он неисправен, спустя 0,5 секунды в дело вступает второй, а при необходимости третий заработает через 1 секунду.
Времятоковую селективность считают максимально сложной. Для нее применяется аппаратура 4 групп – А, В, С и D. У каждой из них наблюдается персональная реакция на электроток и отключение в необходимый момент. Наилучшая защита достигается в группе A, которая используется в основном для электроцепей. Самый популярный тип агрегатов — С, однако специалисты не советуют устанавливать их повсеместно и непродуманно.
Селективность по току
Данная разновидность схожа по методу работы с временной, однако отличие в том, что главным критерием выступает предельная величина токовой отметки. Значения тока выстраиваются в порядке убывания от источника питания до объектов загрузки.

Если около выключателя А возникает КЗ, защита конца В не должна работать, а сам выключатель обязан снимать напряжение с прибора. Чтобы селективность по току гарантировала тотальную избирательность, потребуется иметь большое сопротивление между обоими выключателями. Его получают при помощи:
- протяженной линии электропередачи;
- вставки обмотки трансформатора;
- включения в разрыв провода сечения меньшего размера.
Watch this video on YouTube
Энергетическая
Данная схема подразумевает быстродействие селективности автовыключателей. При этом токи коротких замыканий (КЗ) не имеют возможности набрать свои максимальные значения.
Данные автоматы-«скорострелы» работают на протяжении буквально пары миллисекунд. Из-за большой динамичности нагрузок реально действующие времятоковые параметры защит согласовать крайне затруднительно.
Рядовой пользователь не имеет возможности отследить характеристики данного типа селективности. Производитель обязан предоставлять их в виде графиков и таблиц.
Зонная селективность
Такие схемы часто используются на промышленных объектах. Это не только весьма сложный, но и предельно дорогой способ защиты. Для применения зонной селективности нужно приобретать специальные приборы слежения.

Все данные, полученные в процессе работы приборов, сосредотачиваются в центре контроля. Он определяет, какой именно автомат нужно задействовать для отключения.
В данных устройствах используются электронные расцепители. Их схема работы такова: при появлении аварийной ситуации нижестоящий аппарат подает сигнал тому, что выше. Если через 1 секунду нижнее устройство не сработало, в дело вступает второе.
Принцип логики
Принцип логики в радиальной сети
На приведённой Картинке 9, пояснён принцип работы логики. В каждом из 4-х цифровых реле применяется уставка по току, равная самой последней чувствительной ступени. Такая ступень имеет время срабатывания 0,2 с. Логическая селективность подразумевает возможность блокировки реле сигналом ЛО (логического ожидания). Такой сигнал подаётся по каналу от предыдущего реле защиты. Каждое из реле может передавать такие сигналы транзитом.
Как видно из рисунка, при КЗ в точке К1 все остальные реле, от сигнала ЛО, поданного реле К1, подвергнутся ожиданию. Реле К1 сработает и выполнит отключение. При КЗ в точке 2 аналогичным образом сработает реле К4.
Принцип логики
Для выполнения схем, использующих такой принцип, необходимы цифровые реле. Между собой реле соединяются линией «витая пара», кабелем ВОЛС или через телефонную линию (с использованием модема). С помощью таких линий приём (передача) информации осуществляется на диспетчерский пульт с разных объектов и между самими реле.

Принцип логики в радиальной сети
На приведённой Картинке 9, пояснён принцип работы логики. В каждом из 4-х цифровых реле применяется уставка по току, равная самой последней чувствительной ступени. Такая ступень имеет время срабатывания 0,2 с. Логическая селективность подразумевает возможность блокировки реле сигналом ЛО (логического ожидания). Такой сигнал подаётся по каналу от предыдущего реле защиты. Каждое из реле может передавать такие сигналы транзитом.
Как видно из рисунка, при КЗ в точке К1 все остальные реле, от сигнала ЛО, поданного реле К1, подвергнутся ожиданию. Реле К1 сработает и выполнит отключение. При КЗ в точке 2 аналогичным образом сработает реле К4.
Такие схемы построения логического управления требовательны к надёжности линий связи между элементами.
Селективность по току
Этот вид селективной защиты устанавливается в каждой электрической цепи в её начале. Если в электрической сети, состоящей из этих цепей, происходит короткое замыкание, ток увеличивается соответственно её импедансу. При этом индуктивность ограничивает скорость нарастания тока и существует некоторая минимальная величина его. Эта величина и является порогом срабатывания защиты.
При этом защитные устройства могут сработать и при несколько меньших значениях силы тока, если это необходимо. Но величина тока срабатывания должна находиться в диапазоне значений силы тока, которое будет больше чем при коротком замыкании за пределами области покрытия защиты. Пример токовой защиты цепи с трансформатором, подключенным между кабельными линиями электропередачи, показан на изображении ниже:

Преимуществом избирательности по току является возможность реагирования только на повреждения внутри защищаемой области и в привязке к потребителю, исключая аварии вне защищаемой области. Отличается быстротой срабатывания, небольшой стоимостью и схемотехнической простотой. В этом её преимущество. Недостатком является сложность настройки избирательности последовательно установленных устройств защиты при их расположении в соседних областях из-за похожести параметров процессов, определяемых аварийными ситуациями.
Главные функции
Ключевые задачи селективной защиты – обеспечение бесперебойного функционирования электросистемы и недопустимость сгорания механизмов при появлении угроз. Единственным условием для корректной работы такого типа защиты считают согласованность защитных агрегатов между собой.
Как только возникает аварийная ситуация, испорченный участок при помощи селективной защиты мгновенно определяется и отключается. При этом исправные места продолжают работу, а отключенные никак им в этом не мешают. Селективность существенно снижает нагрузку на электрические установки.

Базовый принцип обустройства такого типа защиты кроется в оборудовании автоматов с номинальным током, который меньше, чем у прибора на вводе. В сумме они могут превышать номинал группового автомата, но по отдельности – никогда. К примеру, при установке вводного устройства на 50 А следующий аппарат не должен обладать номиналом выше 40 А. Первым всегда сработает агрегат, находящийся максимально близко к месту ЧП.
Таким образом, к основным функциям селективной защиты можно отнести:
- обеспечение безопасности электрических приборов и работников;
- быстрое выявление и отключение той зоны электросистемы, где случилась поломка (при этом рабочие зоны не прекращают функционирование);
- снижение негативных последствий для рабочих частей электромеханизмов;
- снижение нагрузки на составные механизмы, предотвращение поломок в неисправной зоне;
- гарантия непрерывного рабочего процесса и постоянного электроснабжения высокого уровня.
- поддержка оптимальной работы той или иной установки.
Конструкция сетей до 1000в.
Внутрицеховые электрические сети напряжением до 1кВ различаются между собой по многим конструктивным признакам. Конструкции сетей зависят от материала проводников, способов изоляции, условий окружающей среды, от степени ответственности электроустановки, от расстояния источника питания до потребителя, от характера нагрузки (спокойная, ударная) и других факторов.
По способам изоляции сети напряжением до 1кВ можно разделить на две большие группы: выполняемые из шин и неизолированных токопроводов и кабелей. К сетям напряжением до 1кВ, выполняемым неизолированными проводами, относятся ВЛ, которые на промышленных предприятиях имеют крайне ограниченное применение. Из неизолированных и изолированных шин выполняются шинопроводы. Электропроводки и КЛ относятся к сетям, выполненным из изолированных проводников.
Бытовые устройства
Целесообразность покупки генератора обратной мощности для дома остается под большим сомнением. Производители таких устройств попросту не могут знать какая техника у вас дома, когда и сколько работает пылесос, вентилятор, какой мощности у вас холодильник и сколько в доме электроники с конденсаторами и блоками питания. Обычно подобные устройства рассчитываются, как говорится, «на глаз» и речи о 5% экономии быть не может. Максимум чего можно достичь – это 0,5 или от силы 1 %. Учитывая цену перелагаемых в интернете устройств, при такой эффективности их окупаемость почти нулевая. Так стоит ли?
Намного эффективнее применить этот принцип индивидуально и на основе замеров угла отклонения самому подобрать нужную емкость для каждого более-менее мощного оборудования с электродвигателем.
Понятие селективности. Методы обеспечения селективности
Выбор системы защиты электроустановки является важным аспектом как для обеспечения экономичной и технически правильной эксплуатации всей установки, так и для сведения к минимуму последствий, вызванных ненормальными условиями эксплуатации или текущими неисправностями.
В рамках данной статьи исследуется согласование различных устройств, предназначенных для защиты частей установки или конкретных компонентов, с целью:
- обеспечения безопасности установки и персонала во всех случаях;
- быстрого определения и отключения зоны, в которой возникла проблемная ситуация, без проведения общих отключений, которые прекращают подачу электроэнергии в зоны нормальной работы установки;
- снижения нагрузки на элементы и предупреждение повреждений в зоне неисправности;
- обеспечения непрерывности электроснабжения надлежащего качества;
- предоставления персоналу, отвечающему за системное техобслуживание и управление, информации, которая необходима для скорейшего восстановления эксплуатации остальной части электросети с минимальным вмешательством;
- достижения оптимального согласования факторов надежности, простоты эксплуатации и экономической эффективности.

Виды селективных схем подключения
Защитная аппаратура по селективности подразделяется на несколько видов. К таковым относятся следующие виды защит:
- полная;
- частичная;
- токовая;
- временная;
- времятоковая;
- энергетическая.
На каждом из них нужно остановиться отдельно.
При такой защищённости цепи подразумевается последовательное подключение аппаратов. В случае возникновения сверхтока сработает тот автомат, который ближе всего к месту повреждения.
Важно! Частичная избирательная защита отличается от полной селективности тем, что срабатывает лишь до установленного значения сверхтока. Выстраивая в убывающем порядке величины токов от источника к нагрузке, обеспечивают работу токовой избирательности
Главной мерой здесь является предельное значение токовой метки
Выстраивая в убывающем порядке величины токов от источника к нагрузке, обеспечивают работу токовой избирательности. Главной мерой здесь является предельное значение токовой метки.
Например, начиная от источника питания или ввода, автоматические выключатели устанавливают в последовательности: 25А, 16А, 10А. Все автоматы могут иметь одинаковое время на срабатывание.
Важно! Между автоматами должно быть высокое сопротивление цепи. Тогда они будут иметь эффективную избирательность
Повышают сопротивление путём увеличения протяжённости линии, включения участков с проводом меньшего диаметра или вставкой трансформаторной обмотки.

Токовая селективность

Временная избирательность
Очень сложной считается времятоковая избирательность. Чтобы её организовать, необходимо выбирать приборы групп: A, B, C, D. У группы А наивысшая защита (применяется в электроцепях). Каждая из этих групп имеет индивидуальную реакцию на величину электрического тока и временную задержку.
Такая защита обусловлена свойствами выключателей, которые заложены производителем. Быстрое срабатывание – до того, как токи КЗ достигли максимума. Счёт идёт на миллисекунды, согласовать такую избирательность очень сложно.

Энергетическая селективность
Информация. Для обустройства такой защиты требуется дополнительное питание. Сигнал от каждого выключателя подаётся в контрольный центр. Отключения производятся электронными расцепителями.
Такие схемы рациональнее всего использовать на промышленных предприятиях, где системы обладают высокими значениями токов КЗ и значительными рабочими токами.

Пример и график зонной избирательности
Функции и задачи селективности
Основной задачей селективной защиты является функция обеспечения стабильной работы и безопасной эксплуатации электроустановок. При возникновении аварийных ситуаций, поврежденный участок определяется практически мгновенно и сразу же отключается, не нарушая работу исправных мест. За счет селективности значительно снижается нагрузка на электроустановки, уменьшаются негативные последствия от действия короткого замыкания.

Четкая и слаженная работа защитных автоматических устройств максимально обеспечивает требования, предъявляемые к бесперебойному электроснабжению. В результате, селективность автоматического выключателя сохраняет непрерывность всех технологических процессов с участием электроустановок. Отключенные участки никак не влияют на их стабильную работу.
Основное правило устройства селективной защиты предполагает установку автоматов с номинальным током, более низким, чем у вводного устройства. Суммарно они могут превышать номинал группового автомата, но по отдельности каждый из них должен быть хотя-бы на одну ступень ниже. То есть, при установке вводного устройства на 50 А, следующий прибор на линии будет иметь номинал не выше 40 А. Первым всегда срабатывает автомат, ближе всего расположенный от места повреждения.

Селективность автоматов обеспечивается их конструкцией. Включение и отключение питания выполняется специальным рычажком. Неподвижные контакты соединяются с клеммами, к которым, в свою очередь, подключаются проводники. Быстрое размыкание осуществляется с помощью подвижного контакта, соединенного с пружиной. Расцепление обеспечивается биметаллической пластиной, изгибающейся после нагрева в случае превышения током своего предельно допустимого значения.
Для настройки токов срабатывания имеется регулировочный винт. В совокупности все элементы способствуют быстрому определению неисправного участка и отсечению его от работоспособных частей.
Основным принципом селективности считается поочередное срабатывание защитной аппаратуры. В случае отступлений от норм, произойдет перегрев не только автоматов, но и электропроводки. В результате, возникают аварийные ситуации с серьезными негативными последствиями.
Правила составления карты селективности
Максимальное использование защитных свойств автоматических выключателей обеспечивается за счет составления специальной карты, отображающей селективность защиты электрической сети, с графическим обозначением всех возможных процессов. Она выполняется в виде схемы установленного образца, в которой указываются все токовые характеристики защитных устройств, включенных в конкретную электрическую сеть.

При составлении карты должны соблюдаться определенные правила:
- Все электроустановки должны быть подключены к общему источнику питания.
- Все места расположения значимых расчетных точек должны нормально просматриваться, поэтому карта селективности выполняется в наиболее подходящем масштабе.
- На схеме отмечаются защитные свойства каждого автомата, а также характеристики возможных коротких замыканий в различных точках с их минимальным и максимальным значением.
- Характеристики автоматов наносятся последовательно, в соответствии с порядком их подключения. Для правильного построения схемы используются оси с основными показателями. На основании схемы составляется специальная таблица, облегчающая выбор защитных устройств.
На правильно составленной карте отображается полная картина об уставках автоматов, согласованных между собой. Это дает возможность сравнивать параметры защитных устройств и общую селективность защиты. Сама карта в первую очередь строится на основе осей времятоковых характеристик и их разновидностей. Как правило, в одной этой схеме отображаются параметры двух или трех автоматов. Горизонтальная ось абсцисс содержит токовые величины (в кВт), а на вертикальной оси ординат отмечается время (с).
Ускорить составление карты помогает специальная программа, которую можно легко найти в интернете. Иногда такие схемы отсутствуют в проектной документации на электрооборудование. Это может привести к нарушениям установленных норм и отключениям питания потребителей.
Графическое изображение селективности
Для надежной токовой защиты электропроводки необходима карта селективности. Она представляет собой схему времятоковых характеристик аппаратов, установленных поочередно в цепи. Масштаб выбирается так, чтобы по граничным точкам было видно защитные свойства аппаратов. На практике карты селективности в проектах преимущественно не используются, что является большим недостатком и приводит к отключениям электричества у пользователей.

Соотношение номиналов должно быть как минимум 2,5 для обеспечения селективности. Но даже у них есть общие зоны срабатывания, хотя и небольшие. Только при соотношении 3,2 не наблюдается их пересечение. Но в этом случае один из номиналов может получиться завышенным и придется установить после автомата проводку большего сечения.
В большинстве случаев селективность защиты не требуется. Она нужна только там, где могут возникнуть серьезные последствия.
Если в расчете получаются завышенные значения номиналов автоматов, на вводе устанавливают рубильники или выключатели нагрузки.
Можно также применять специальные селективные автоматы.

Карта селективности
Все характеристики токовых устройств вносятся в определенную схему. Она позволяет создать максимальную защиту автоматов. Основной ее принцип — это последовательность подключения аппаратов.
При создании карты учитываются определенные правила:
- один источник напряжения для всех установок;
- правильный масштаб нужен для хорошего просмотра расчетных точек;
- отмечаются минимальные и максимальные показатели короткого замыкания и защитные свойства.
Отсутствие грамотно построенной карты приводит к нарушениям электроснабжения. Наглядная схема позволяет увидеть согласованность установок и сравнить работу автоматов. Сама схема состоит из двух осей:
- ось абсцисс — это величина тока в кВ;
- ось ординат — это время в секундах.
Принцип направленности
Расстановка автоматов и дальнейшая последовательность их срабатывания ориентируются на направленность тока. Для этого при помощи вектора напряжения задана какая-либо точка, относительно которой этот вектор получает фазовый сдвиг. По такому принципу реле будет чувствительно и к току, и к напряжению. Такую цепь можно установить и в отключаемой зоне, и зоне, не подлежащей отключению.
УЗО и выключатели присоединены по принципу направленности
На приведённом выше рисунке можно увидеть, что защитное устройство D1 и управляемый им выключатель отреагируют на короткое замыкание в точке 1, а на замыкание в точке 2 – нет.
Правила составления карты селективности
Максимальное использование защитных свойств автоматических выключателей обеспечивается за счет составления специальной карты, отображающей селективность защиты электрической сети, с графическим обозначением всех возможных процессов. Она выполняется в виде схемы установленного образца, в которой указываются все токовые характеристики защитных устройств, включенных в конкретную электрическую сеть.
При составлении карты должны соблюдаться определенные правила:
- Все электроустановки должны быть подключены к общему источнику питания.
- Все места расположения значимых расчетных точек должны нормально просматриваться, поэтому карта селективности выполняется в наиболее подходящем масштабе.
- На схеме отмечаются защитные свойства каждого автомата, а также характеристики возможных коротких замыканий в различных точках с их минимальным и максимальным значением.
- Характеристики автоматов наносятся последовательно, в соответствии с порядком их подключения. Для правильного построения схемы используются оси с основными показателями. На основании схемы составляется специальная таблица, облегчающая выбор защитных устройств.
На правильно составленной карте отображается полная картина об уставках автоматов, согласованных между собой. Это дает возможность сравнивать параметры защитных устройств и общую селективность защиты. Сама карта в первую очередь строится на основе осей времятоковых характеристик и их разновидностей. Как правило, в одной этой схеме отображаются параметры двух или трех автоматов. Горизонтальная ось абсцисс содержит токовые величины (в кВт), а на вертикальной оси ординат отмечается время (с).
Ускорить составление карты помогает специальная программа, которую можно легко найти в интернете. Иногда такие схемы отсутствуют в проектной документации на электрооборудование. Это может привести к нарушениям установленных норм и отключениям питания потребителей.






















































